$24.00

Download Now
Sold by bg-store on Tradebit
The world's largest download marketplace
3,307,108 satisfied buyers
Shopper Award

Deer 490D and 590D Excavator Service Repair Technical Manual (tm1390)

Illustrated Factory Service Repair Technical Manual for John Deere Excavator 490D and 590D

This manual contains high quality images, instructions to help you to troubleshoot, and repair your truck. This document is printable, without restrictions, contains searchable text, bookmarks, crosslinks for easy navigation.

This is repair only manual, Diagnostic Manual with electrical wiring diagrams are sold separate.

Language: English
Format: PDF, 567 pages

Covered models:
  490D
  590D

Contents:
   Foreword
   General Information
      Safety
      General Specifications
      Torque Values
      Fuels And Lubricants
   Tracks
      Track System
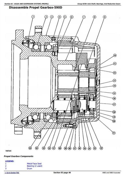
   Axles And Suspension Systems (Propel)
      Axle Shaft, Bearings, And Reduction Gears
      Hydraulic System
   Engine
      Removal And Installation
   Engine Auxiliary Systems
      Cold Weather Starting Aids
      Cooling System
      Speed Controls
      Intake System
      External Fuel Supply Systems
   Dampener Drive (Flex Coupling)
      Elements
   Electrical System
      Batteries, Support, And Cables
      Alternator, Regulator And Charging System Wiring
      Wiring Harness And Switches
      Motors And Actuators
   Frame Or Supporting Structure
      Frame Installation
      Chassis Weights
   Operators Station
      Removal And Installation
      Operator Enclosure
      Seat And Seat Belt
      Heating And Air Conditioning
   Sheet Metal And Styling
      Hood Or Engine Enclosure
   Excavator
      Buckets
      Frames
      Hydraulic Systems
   Swing Or Pivoting System
      Mechanical Drive Elements
      Hydraulic System
   Dealer Fabricated Tools
      Dealer Fabricated Tools
File Data

This file is sold by bg-store, an independent seller on Tradebit.

Our Reviews
© Tradebit 2004-2026
All files are property of their respective owners
Questions about this file? Contact bg-store
DMCA/Copyright or marketplace issues? Contact Tradebit